發布日期:2020-02-20 17:34
德州蓄電池廠王經理定購的鉛粉機布袋除塵器于2014年7月23日已發貨,為方便運輸與安裝除塵器分三部分(上箱體、中箱體、灰斗),貨到現場后請按照說明書的安裝要求進行吊裝,在除塵器主體安裝完畢后,再安裝除塵布袋與骨架。
鉛粉機袋式除塵器型號:PPC32-6
設計處理風量為10000m3/h
旋風除塵器規格:950*6000mm
過濾面積:192m2 過濾風速:1.5m/min
處理效率:99.5%
濾袋:Φ130×2500mm,192個(每個濾袋過濾面積為1m2)
電磁閥:6個 DMF-Z-50
系統阻力:1000Pa
清灰方式:離線脈沖清灰
材質:碳鋼
數量:1臺

系統描述:
鉛粉機是加工蓄電池原料的主要生產設備。目前,蓄電池廠廣泛采用風選式鉛粉機,其生產工藝及通風系統如下圖所示。在鉛粉生產過程中,用于凈化制粉尾氣,目前市場上主要有兩種凈化制粉尾氣的設備,一種是水霧除塵器,另一種是干式除塵器。水霧除塵器的特點是凈化干凈,人工維護少,但水洗出的鉛粉再用率很低。干式除塵器的特點是,生產環境清潔,但與布袋除塵器一樣,要定期的更換除塵布袋,但可節約水,同時清理出的鉛粉能夠使用。
我公司提供的干式除塵器,采用箱體掛袋式,在花板上裝有振打電機。箱體上端的出風口直接連到負壓風機。
鉛粉機在生產過程中,從鉛粉機吹出來的含塵氣體進入濾袋過濾,其速度減慢,一部分鉛粉沉降下來;其余粉塵隨氣體進入濾袋過濾;凈化后的氣體再通入水浴除塵器進行第二次凈化,然后排出大氣。鉛粉由收塵器下部送出供生產上使用。
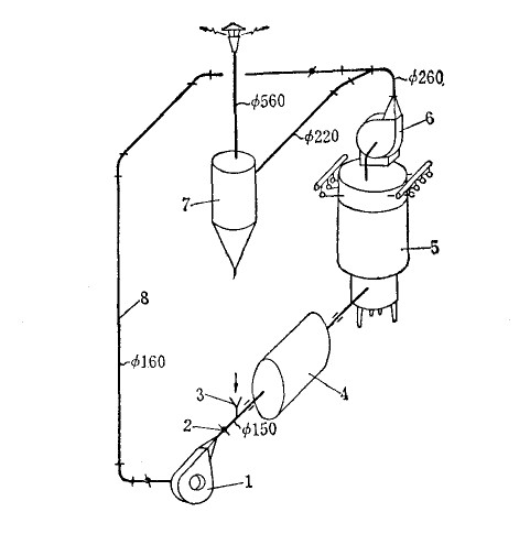
鉛粉機通風系統

其中1表示正壓風機;2表示閥門;3表示加球及補風口;4表示鉛粉機滾筒;5表示脈沖袋式除塵器;6表示負壓風機;7表示水浴除塵器;8表示循環回風管
為了提高鉛粉機的產量和解決鉛粉污染問題,德州蓄電池廠對Φ300x1300mm的鉛粉機進行了改革,加大了正壓風機的抽氣量,設置了循環回風系統,把原來用麻布作濾袋的反吸風除塵器改為以“208”工業滌綸絨市作濾袋的氣動控制脈沖袋式除塵器。改革后,系統運轉正常,鉛粉產量有較大提高,日產量由改裝前的3—3.2噸/天提高到6.5—7.8噸/天,質量也符合要求。投產后,對該系統的收塵器進行了測定,其各項指標都達到環保要求。